Система НВФ для бетонной пазогребневой плитки · MTC-v-350
📌 Фасадная система MTC-v-350 для бетонной пазогребневой плитки
Фасадная система MTC-v-350 предназначена для устройства навесного вентилируемого фасада с облицовкой бетонной пазогребневой плиткой под кирпич. Система обеспечивает надёжную скрытую фиксацию плитки и формирует ровную фасадную поверхность с визуальным эффектом классической кирпичной кладки.
🧱 Назначение и область применения
Система применяется для крепления:
-
фасадной бетонной плитки с пазогребневым профилем
Рекомендуется для:
-
жилых и общественных зданий
-
малоэтажного и многоэтажного строительства
-
новых объектов и реконструкции фасадов
-
наружного и внутреннего применения
-
крепления к стенам и межэтажным перекрытиям
🔩 Принцип фиксации облицовки
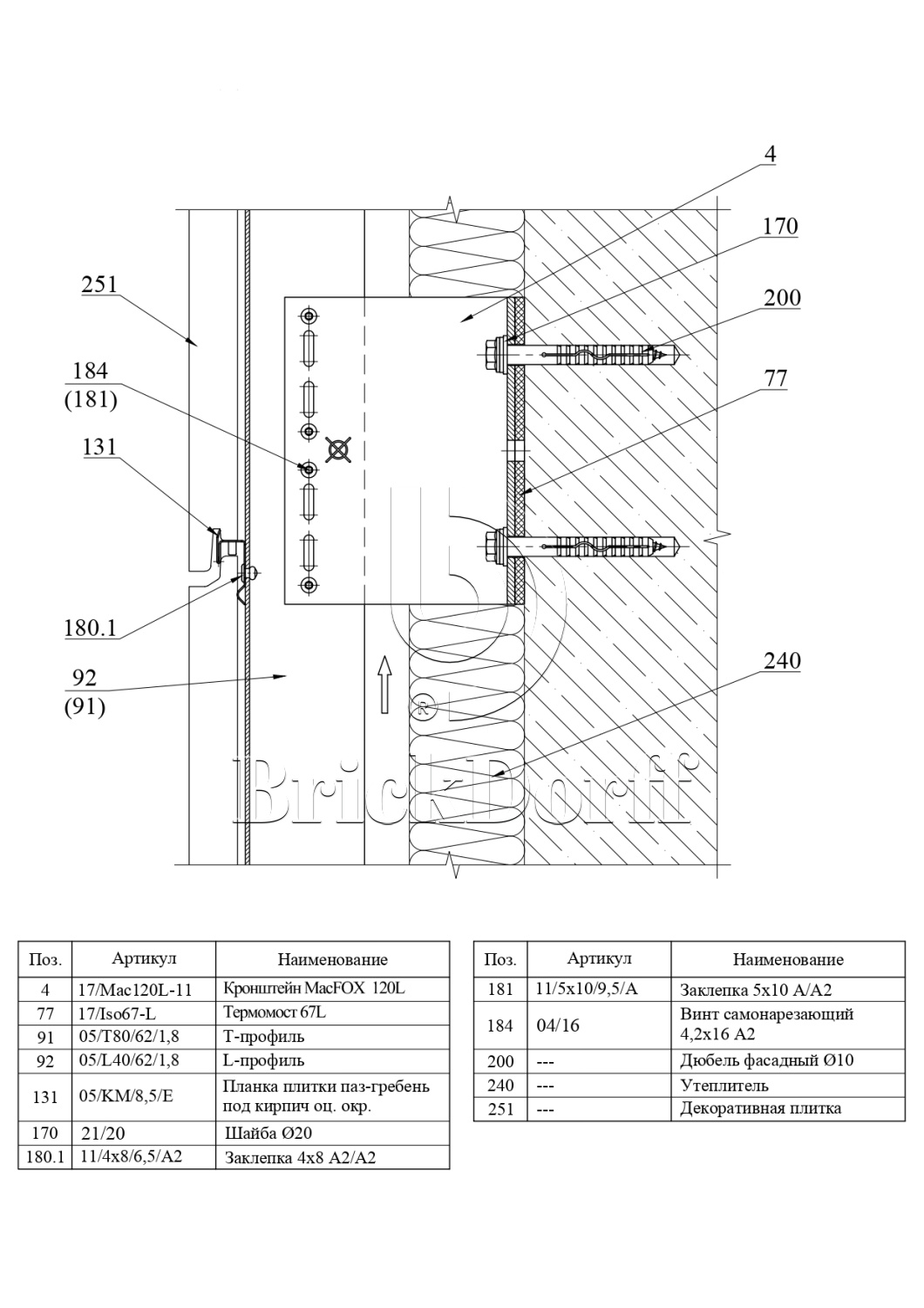
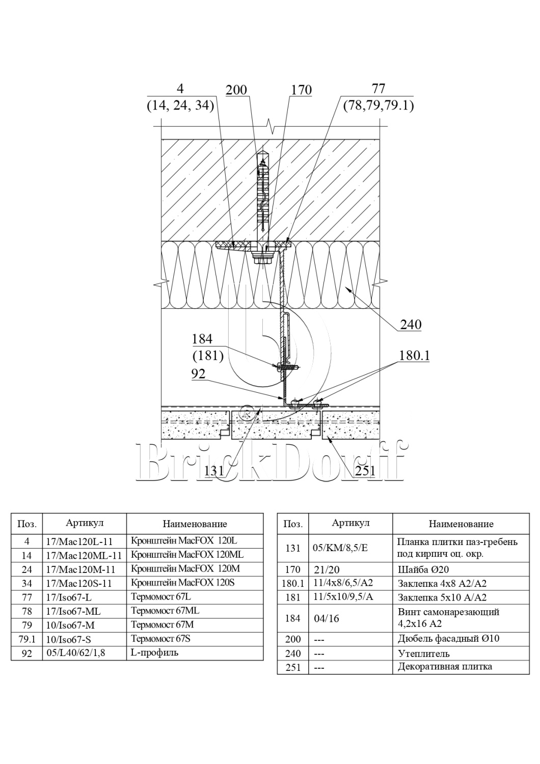
Фиксация бетонной плитки осуществляется скрытым способом — на монтажных планках с прижимом.
Пазогребневый профиль плитки обеспечивает точное позиционирование элементов и дополнительную устойчивость облицовки.
В зависимости от проекта применяются:
-
алюминиевые планки с полимерным покрытием
-
либо планки из коррозионностойкой / оцинкованной стали с полимерным покрытием и фиксатором
Такая схема крепления гарантирует:
-
надёжную фиксацию тяжёлой бетонной плитки
-
равномерное распределение нагрузок
-
компенсацию температурных деформаций
-
отсутствие видимых элементов крепежа
🏗 Материалы и надёжность системы
Несущие элементы системы выполнены из алюминиевых сплавов 6060 и 6063 (T6) в соответствии с ГОСТ 22233-2018.
Система рассчитана на эксплуатацию в сложных климатических условиях и соответствует требованиям современного фасадного строительства.
Технические характеристики:
-
класс пожарной опасности — К0
-
сейсмостойкость — до 9 баллов
-
высокая коррозионная стойкость и долговечность
📐 Параметры облицовки
-
Максимальный размер плитки: до 400 × 200 мм
-
Материал облицовки: бетонная пазогребневая плитка под кирпич
-
Тип крепления облицовки: скрытый, на планках с прижимом
🎯 Преимущества системы MTC-v-350
-
✔ скрытое крепление без видимых элементов
-
✔ рассчитана на повышенный вес бетонной плитки
-
✔ высокая точность геометрии фасада
-
✔ надёжная фиксация пазогребневых элементов
-
✔ соответствие пожарным и сейсмическим требованиям
-
✔ подходит для профессионального фасадного строительства
BrickDorff рекомендует
MTC-v-350 — оптимальное решение для фасадов с бетонной облицовкой под кирпич, где требуется сочетание архитектурной выразительности и инженерной надёжности.
