Система НВФ для фиброцементных листовых панелей · MTA-v-100h
📌 Фасадная система MTA-v-100h для фиброцементных панелей
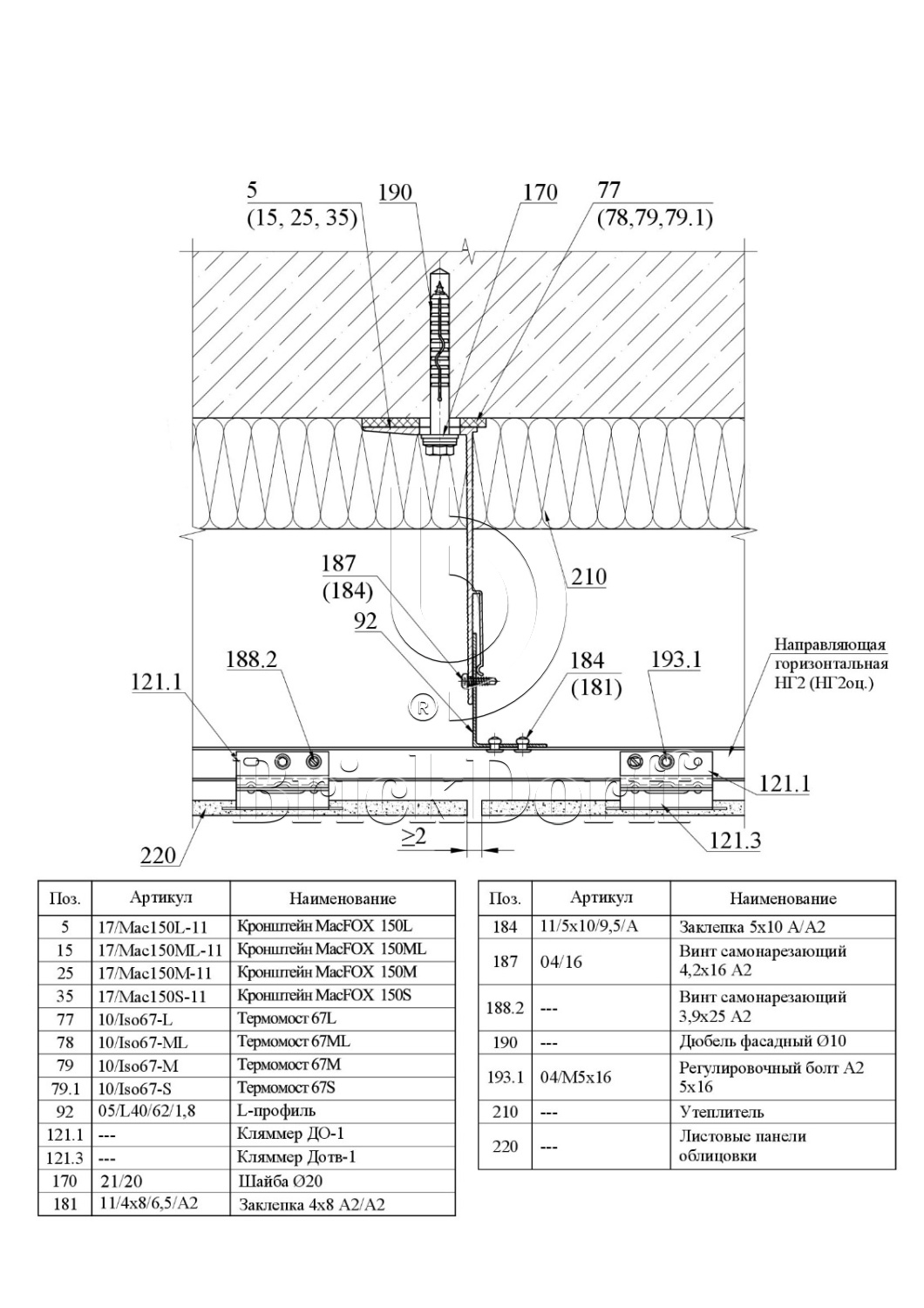
Фасадная система MTA-v-100h предназначена для устройства навесного вентилируемого фасада с облицовкой фиброцементными листовыми панелями большого формата. Система обеспечивает скрытое крепление панелей и формирование ровной, современной фасадной поверхности без видимых элементов фиксации.
🧱 Назначение и область применения
Система применяется для крепления:
-
фиброцементных фасадных панелей толщиной 8, 10 и 12 мм
Рекомендуется для:
-
жилых и общественных зданий
-
коммерческих и административных объектов
-
малоэтажного и многоэтажного строительства
-
новых объектов и реконструкции фасадов
-
наружного и внутреннего применения
-
крепления к стенам и межэтажным перекрытиям
🔩 Принцип фиксации облицовки
Крепление фиброцементных панелей осуществляется скрытым способом при помощи кляммеров типа KL 8 CRAB.
Кляммер фиксирует панель за тыльную часть, обеспечивая надёжное удержание облицовки без сверления лицевой поверхности.
Такая схема крепления обеспечивает:
-
отсутствие видимых крепёжных элементов
-
чистую геометрию фасада
-
равномерное распределение нагрузки от крупноформатных панелей
-
компенсацию температурных и усадочных деформаций
🏗 Конструкция и материалы системы
Несущие элементы подсистемы выполнены из алюминиевых сплавов 6060 и 6063 (T6) в соответствии с ГОСТ 22233-2018, что гарантирует высокую прочность, коррозионную стойкость и долговечность конструкции.
Технические характеристики системы:
-
класс пожарной опасности — К0
-
сейсмостойкость — до 9 баллов
-
высокая устойчивость к климатическим нагрузкам
📐 Параметры облицовки
-
Максимальный размер панелей: до 3050 × 1250 мм
-
Толщина облицовки: 8 / 10 / 12 мм
-
Материал облицовки: фиброцементные панели
-
Тип крепления облицовки: скрытый
-
Тип фиксации: кляммерная система (KL 8 CRAB)
🎯 Преимущества системы MTA-v-100h
-
✔ скрытое крепление без сверления лицевой поверхности
-
✔ адаптация под крупноформатные панели
-
✔ современный архитектурный внешний вид фасада
-
✔ высокая точность и повторяемость геометрии
-
✔ соответствие пожарным и сейсмическим требованиям
-
✔ профессиональное решение для фасадных систем
BrickDorff рекомендует
MTA-v-100h — оптимальное решение для фасадов с фиброцементной облицовкой, где важны минимализм, чистая геометрия и инженерная надёжность.
